![]() |
| Układ osi <-Przód - Tył -> |
min.promień łuku toru |
||||
| 150 | |||||
| 40 | 40 | 0 | (15) | 0 | |
| Oś toczna lub oś wózka | |
| Oś napędna (dowiązana) |
|
| Oś silnikowa (z korbowodem) |
|
| 50 | Przesuwność osi w mm |
| (10) | zwężenie obrzeża w mm |
| L.p. | ||
| 1 | Dawna seria niemiecka | 38 10-40 |
| 2 | Seria tendra | 22D2 |
| 3 | Układ osi | 2-3-0 |
| 4 | Największa dopuszczalna szybkość [km/h] | 100 |
| 5 | Średnice cylindrów [mm] | 2 x 575 |
| 6 | Skok tłoków [mm] | 630 |
| 7 | Nadciśnienie w kotle [kG/cm2] | 12 |
| 8 | Powierzchnia rusztu [m2] | 2,64 |
| 9 | Wymiary rusztu (dług x szer) [m] | 2,62 x 1,01 |
| 10 | Powierzchnia ogrzewalna skrzyni ogniowej [m2] | 14,58 |
| 11 | Średnica zewn. płomieniówek i grubość ścianek [mm] | 51/2,5 |
| 12 | Odległość między ścianami sitowymi [mm] | 4 700 |
| 13 | Liczba płomieniówek [szt] | 119 |
| 14 | Powierzchnia ogrzewalna płomieniówek [m2] | 80,67 |
| 15 | Średnica zewn. płomienic i grubość ścianek [mm] | 133/4 |
| 16 | Liczba płomienic [szt] | 26 |
| 17 | Powierzchnia ogrzewalna płomienic [m2] | 48,0 |
| 18 | Powierzchnia ogrzewalna odparowująca całkowita [m2] | 143,25 |
| 19 | Średnica zewn. rurek przegrzewacza i grubość ścianek [mm] | 38/4 |
| 20 | Powierzchnia ogrzewalna przegrzewacza [m2] | 52,0 |
| 21 | Zawartość wody w kotle [m3] *) | 6,5 |
| 22 | Przestrzeń parowa kotła [m3] *) | 3,10 |
| 23 | Ciężar kotła bez urządzeń i osprzętu [kG] | 18 600 |
| 24 | Ciężar kotła z urządzeniami i osprzętem [kG] | 24 300 |
| 25 | Zawartość wody w skrzyni wodnej [m3] | 21,5 |
| 26 | Zawartość węgla w skrzyni węglowej [T] | 7 |
| 27 | Średnica kół napędnych [mm] | 1 750 |
| 28 | Średnica kół tocznych: - z przodu [mm] - z tyłu [mm] |
1000 - |
| 29 | Całkowity ciężar parowozu w stanie próżnym [kG] | 71 700 |
| 30 | Obciążenie resorów jednej osi w stanie służbowym
[kG] - I zestaw - II zestaw - III zestaw - IV zestaw - V zestaw |
11 100 11 300 13 100 13 200 13 700 |
| 31 | Nacisk osi na szyny w stanie służbowym [kG] - I zestaw - II zestaw - III zestaw - IV zestaw - V zestaw |
13 200 13 400 16 600 17 700 17 300 |
| 32 | Całkowity ciężar parowozu w stanie służbowym [kG] | 78 200 |
| 33 | Całkowity ciężar przyczepny (napędny) w stanie służbowym [kG] | 51 600 |
| 34 | Ciężar parowozu z tendrem w stanie: - próżnym [kG] - służbowym [kG] |
94 700 129 700 |
| 35 | Całkowity ciężar parowozu z tendrem w stanie służbowym na metr toru [T/m] | 6,98 |
| 36 | Typ hamulca | Knorr,Westinghouse |
| 37 | Rok budowy | 1907-1923 |
*) Przy poziomie wody 150 mm ponad skrzynią ogniową
a) dla węgla o gorszej wartości opałowej Wu wynoszącej orientacyjnie ok. 5 500 kcal/kg lub mniej
| v | 20 | 30 | 40 | 50 | 60 | 70 | 80 | 90 | 100 |
| Fe | - | 7 760 | 6 070 | 4 830 | 4 050 | 3 380 | 2 770 | 2 130 | 1 600 |
| Ne | - | 860 | 900 | 900 | 900 | 880 | 820 | 710 | 595 |
| i %o \ w | - | 2,21 | 2,56 | 3,03 | 3,50 | 4,09 | 4,68 | 5,39 | 6,10 |
| 0 | - | - | - | - | - | 830 | 590 | 395 | 260 |
| 1 | - | - | - | - | - | 640 | 465 | 315 | 205 |
| 2 | - | - | - | - | 690 | 515 | 380 | 255 | 165 |
| 3 | - | - | - | - | 565 | 425 | 310 | 210 | 135 |
| 4 | - | - | - | 615 | 475 | 355 | 260 | 175 | 110 |
| 5 | - | - | - | 525 | 400 | 300 | 220 | 145 | - |
| 6 | - | - | 620 | 450 | 350 | 260 | 190 | 120 | - |
| 7 | - | - | 545 | 395 | 300 | 225 | 160 | 100 | - |
| 8 | - | 660 | 480 | 350 | 265 | 195 | 140 | - | - |
| 10 | - | 530 | 385 | 285 | 210 | 150 | 105 | - | - |
| 14 | - | 370 | 260 | 180 | 130 | 90 | - | - | - |
| 20 | - | 235 | 160 | 100 | - | - | - | - | - |
| 25 | - | 165 | 100 | - | - | - | - | - | - |
a) dla węgla o gorszej wartości opałowej Wu wynoszącej orientacyjnie ok. 5 500 kcal/kg lub mniej
| v | 20 | 30 | 40 | 50 | 60 | 70 | 80 | 90 | 100 |
| Fe | - | 7 760 | 6 070 | 4 830 | 4 050 | 3 380 | 2 770 | 2 130 | 1 600 |
| Ne | - | 860 | 900 | 900 | 900 | 880 | 820 | 710 | 595 |
| i %o \ w | - | 2,06 | 2,36 | 2,78 | 3,20 | 3,74 | 4,28 | 4,94 | 5,60 |
| 0 | - | - | - | - | - | - | 645 | 430 | 295 |
| 1 | - | - | - | - | - | - | 500 | 340 | 225 |
| 2 | - | - | - | - | - | 545 | 400 | 270 | 180 |
| 3 | - | - | - | - | - | 445 | 330 | 220 | 140 |
| 4 | - | - | - | - | 495 | 370 | 275 | 180 | 115 |
| 5 | - | - | - | 575 | 415 | 315 | 230 | 150 | 90 |
| 6 | - | - | - | 465 | 360 | 270 | 195 | 125 | - |
| 7 | - | - | 560 | 405 | 310 | 235 | 165 | 105 | - |
| 8 | - | - | 490 | 355 | 270 | 200 | 145 | - | - |
| 10 | - | 540 | 390 | 280 | 210 | 155 | 105 | - | - |
| 14 | - | 375 | 265 | 185 | 135 | 90 | - | - | - |
| 20 | - | 240 | 160 | 100 | - | - | - | - | - |
| 25 | - | 165 | 105 | - | - | - | - | - | - |

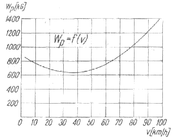
Wp-opory jazdy,
v-szybkość jazdy parowozu

Fn-siła pociągowa przyczepna,
n-liczba obrotów kół napędnych na sekundę,
E-napełnienie cylindra w dziesiątych częściach,
v-szybkość jazdy parowozu
a) dla węgla o gorszej wartości opałowej Wu wynoszącej orientacyjnie ok. 5 500 kcal/kg lub mniej
Wagony 2 i 3 osiowe

a) dla węgla o gorszej wartości opałowej Wu wynoszącej orientacyjnie ok. 5 500 kcal/kg lub mniej
Wagony 4 osiowe

![]() |