§
10.
Radiotelefon stacjonarny i przewoźny typu 3001.
1. Radiotelefon typu 3001 jest dziesięciokanałowym, simpleksowym urządzeniem radiokomunikacyjnym przeznaczonym do realizowania łączności w sieciach radiotelefonicznych PKP. Zespół nadawczo-odbiorczy radiotelefonu jest identyczny dla zestawu stacjonarnego i przewoźnego. Różnica między zestawem stacjonarnym i przewoźnym polega na stosowaniu innego zasilacza i anteny.
2. Za pomocą radiotelefonu typu 3001
można realizować łączność na określone odległości w
następujących relacjach:
1) radiotelefon
stacjonarny-przewoźny do 15 km
2) radiotelefon stacjonarny-noszony
do 6 km
3) radiotelefon
przewoźny-przewoźny do 10 km
Podane wyżej zasięgi łączności są orientacyjne, dotyczą
terenu otwartego i w zależności od warunków terenowych mogą
ulec zmianie.
3. Zestaw eksploatacyjny radiotelefonu
typu 3001 tworzą:
1) zespół nadawczo-odbiorczy,
2) mikrotelefon z przełącznikiem
"nadawanie-odbiór",
3) zasilacz sieciowy (w zestawie
stacjonarnym),
4) zasilacz bateryjny (w zestawie
przewoźnym),
5) antena (stacjonarna lub
przewoźna),
6) ramy mocujące,
7) kable połączeniowe.
4. Zespół nadawczo-odbiorczy zawiera
następujące elementy manipulacyjne umieszczone na płycie
czołowej obudowy (rys. 1):
1) włącznik radiotelefonu (N 1),
2) włącznik selektywnego
wywołania (N 2) - nie wykorzystywany w zestawie stosowanym na
PKP,
3) włącznik blokady szumu (N3),
4) przycisk kasowania selektywnego
wywołania (N 4) nie wykorzystywany w zestawie stosowanym na PKP,
5) przełącznik kanałów 1-10 (S
1),
6) regulator siły głosu (S 2),
7) lampka sygnalizacji włączenia
radiotelefonu (L 1),
8) lampka sygnalizacji nadawania (L
2),
9) lampka sygnalizacji zajęcia
kanału (L3),
10) lmpka sygnalizacji selektywnego
wywołania (L 4) ,- nie wykorzystywana w zestawie stosowanym na
PKP,
11) głośnik (Gł),
12) gniazdo mikrotelefonu
umieszczone na lewej ścianie obudowy zespołu (G 1).

5. Zasilacz sieciowy zasila zestaw
stacjonarny prądem zmiennym o napięciu 220 V (z sieci
energetycznej). Umożliwia on również zasilanie radiotelefonu z
dodatkowej baterii akumulatorów o napięciu 24 V w przypadku
zaniku napięcia w sieci energetycznej.
Na płycie czołowej zasilacza (rys. 2) znajdują się
następujące elementy:
1) włącznik sieci (WS),
2) włącznik baterii (WB),
3) lampka sygnalizacji włączenia
sieci (LS),
4) lampka sygnalizacji włączenia
baterii (LB),
5) gniazda bezpiecznikowe (B1, B2).

6. Zasilacz bateryjny zasila zestaw przewoźny prądem stałym o napięciu 12 V lub 24 V (z baterii akumulatorów) i nie wymaga obsługi związanej z włączeniem oraz wyłączeniem radiotelefonu.
7. W celu włączenia do pracy radiotelefonu
stacjonarnego należy:
1) wcisnąć w zasilaczu włącznik
zasilania z sieci - WS, sygnalizowane świeceniem lampki LS,
2) wcisnąć w zasilaczu włącznik
zasilania z baterii - WB, sygnalizowane świeceniem lampki LB
(czynność tą należy wykonać tylko w przypadku, gdy do
zasilacza przyłączona-jest bateria akumulatorów stanowiąca
zasilanie awaryjne),
3) na płycie czołowej zespołu
nadawczo-odbiorczego wcisnąć przycisk włączenia radiotelefonu
- NI, sygnalizowane świeceniem lampki L 1,
4) wcisnąć przycisk blokady szumu
- N 3,
5) przełącznik kanałów S 1
ustawić na żądany kanał (1-10), zgodnie z obowiązującym w
sieci schematem łączności,
6) regulator siły głosu S 2
ustawić w pozycji środkowej.
8. W celu włączenia do pracy radiotelefonu przewoźnego należy wykonać czynności podane w ust. 7 pkt 3-6.
9. W celu nawiązania łączności z
żądanym abonentem sieci radiotelefonicznej należy:
1) upewnić się, czy na danym
kanale nie jest prowadzona rozmowa co sygnalizowane jest
świeceniem lampki L3 na płycie czołowej zespołu
nadawczo-odbiorczego,
2) nacisnąć w mikrotelefonie
(rys. 3) przycisk mikrofonowy (nadawania) - N 5, sygnalizowane
świeceniem lampki L 2,
3) wywołać głosem żądanego
abonenta,
4) po wywołaniu i przekazaniu
informacji natychmiast zwolnić przycisk nadawania i w czasie
wysłuchiwania odpowiedzi ustawić żądane natężenie siły
głosu regulatorem siły głosu - S 2.

10. W przypadku konieczności
wyłączenia radiotelefonu należy wycisnąć przycisk
włączenia radiotelefonu NI na płycie czołowej zespołu
nadawczo-odbiorczego, gaśnie lampka L 1.
W zestawie stacjonarnym należy również w zasilaczu sieciowym
wycisnąć wyłączniki: zasilania z sieci - WS i zasilania z
baterii - WB, gasną lampki LS i LB na płycie czołowej
zasilacza.
§
11.
Radiotelefon stacjonarny typu 3206
1. Radiotelefon stacjonarny typu 3206
jest dziesięciokanałowym simpleksowym urządzeniem
radiokomunikacyjnym przeznaczonym do zapewnienia łączności w
sieciach radiotelefonicznych PKP.
Wyposażony jest w układ selektywnego wywołania grupowego oraz
układ umożliwiający automatyczne nadawanie sygnału
"ALARM", składającego się z odpowiedniej kombinacji
trzech tonów selektywnego wywołania.
2. Za pomocą radiotelefonu typu 3206
można realizować łączność na określone odległości w
następujących relacjach:
1) radiotelefon
stacjonarny-przewoźny do 15 km,
2) radiotelefon stacjonarny-noszony
do 6 km.
3. Zestaw eksploatacyjny radiotelefonu
tworzą:
1) zespół nadawczo-odbiorczy,
2) manipulator pociągowy,
3) zasilacz sieciowy,
4) antena stacjonarna,
5) ramy mocujące,
6) kable połączeniowe.
4. Zespół nadawczo-odbiorczy zawiera we
wspólnej obudowie układy elektroniczne nadajnika i odbiornika
oraz gniazda wtykowe:
antenowe, zasilania i manipulacyjne (do przyłączenia
manipulatora pociągowego).
5. Manipulator pociągowy zawiera
następujące elementy umieszczone na górnej płycie obudowy
(rys. 4):
1) przycisk włączenia
radiotelefonu - N1,
2) przycisk włączenia blokady
szumów - N 2,
3) przycisk selektywnego wywołania
pierwszej grupy abonentów - N 3,
4) przycisk selektywnego wywołania
drugiej grupy abonentów - N 4,
5) przycisk selektywnego wywołania
trzeciej grupy abonentów - N 5,
6) włącznik automatycznego alarmu
(przycisk przykryty kapturkiem z napisem "ALARM") - N
6,
7) lampka sygnalizacji włączenia
radiotelefonu "WŁ" - L1,
8) lampka sygnalizacji fali nośnej
(zajętości kanału) "SFN" - L 2,
9) przełącznik kanałów 1-10 - S
1,
10) regulator siły głosu - S 2,
11) przełącznik nasłuchu
selektywnego odpowiedniej grupy abonentów "NASŁUCH" -
S 3.

6. Na czołowej ścianie obudowy
manipulatora znajduje się:
1) głośnik - Gł
2) uchwyt mikrofonu z
przełącznikiem odpowiedniego rodzaju pracy (nasłuch - odbiór)
- S 4.
7. Z dolnej ścianki obudowy wyprowadzony jest przewód mikrofonowy zakończony mikrofonem z przyciskiem nadawania - N7.
8. Zasilacz sieciowy zasila zestaw
radiotelefonu prądem zmiennym o napięciu 220 V (z sieci
energetycznej).
Urządzenie to zostało omówione w § 10 ust. 5.
9. W celu włączenia radiotelefonu do
pracy należy:
1) wykonać czynności podane w §
10 ust. 7 pkt 1 i 2 dotyczące zasilacza sieciowego,
2) wcisnąć przycisk włączenia
radiotelefonu na płycie górnej manipulatora - N1, sygnalizowane
świeceniem lampki "WŁ" -L1,
3) wcisnąć przycisk blokady
szumów - N 2,
4) ustawić żądany kanał
przełącznikiem kanałów - S1,
5) ustawić w pozycji środkowej
regulator siły głosu - S 2,
6) ustawić przełącznik nasłuchu
selektywnego - S 3 w pozycji 3.
10. W celu nawiązania łączności z
żądanym abonentem sieci radiotelefonicznej należy:
1) upewnić się, czy na wybranym
kanale nie jest prowadzona rozmowa, co jest sygnalizowane
świeceniem lampki "SFN". - L 2 w manipulatorze,
2) wyjąć mikrofon z uchwytu,
3) nacisnąć na okres około 1
sekundy przycisk selektywnego wywołania grupowego przypisany dla
wywołania:
a) abonenta poruszającego się pojazdem z
nieparzystym numerem wg służbowego rozkładu jazdy - N 3,
b). abonenta poruszającego się pojazdem z
parzystym numerem wg służbowego rozkładu jazdy - N 4,
c) abonenta radiotelefonu stacjonarnego - N 5,
4) po zwolnieniu przycisku
selektywnego wywołania grupowego przycisnąć przycisk nadawania
- N 7 i wywołać żądanego abonenta głosem,
5) po przekazaniu informacji
natychmiast zwolnić przycisk nadawania - N 7 i wysłuchać
odpowiedzi.
11. Po zakończonej rozmowie mikrofon włożyć do uchwytu.
12. W przypadku zaistnienia
konieczności wysłania sygnału "ALARM" nadawanego
automatycznie należy zbić kapturek ochronny z napisem
"ALARM" i wcisnąć znajdujący się pod nim przycisk N
6.
Powoduje to włączenie nadajnika i cykliczne samoczynne
wysyłanie sygnału alarmowego. Sygnał ten odbierany jest przez
odbiorniki wszystkich urządzeń znajdujących się w zasięgu
radiotelefonu emitującego sygnał w postaci kombinacji trzech
tonów słyszanych w głośniku urządzeń odbierających i
urządzenia nadającego.
Skasowanie sygnału alarmu automatycznego następuje przez
wyłączenie na okres około 30 sekund urządzenia wyłącznikiem
Niw manipulatorze i ponowne włączenie urządzenia.
13. Kapturek ochronny przycisku "ALARM" jest zaplombowany. Zerwanie plomby lub zbicie kapturka bez uzasadnionej przyczyny jest zabronione.
14. W sieciach radiotelefonicznych, w których nie stosuje się selektywnego wywołania grupowego, przy inicjowaniu rozmowy nie używa się przycisków N 3, N 4 i N 5 oraz przełącznika S 4. Mikrofon może być w tych przypadkach odłożony w dogodne dla obsługi miejsce uniemożliwiające uszkodzenie mikrofonu.
16. Dyżurny ruchu, który usłyszał automatycznie nadany sygnał "ALARM" zobowiązany jest odnotować ten fakt w dzienniku telefonicznym, zapisując godzinę odebrania sygnału i pozycję przełącznika kanałów - S 1, na której sygnał został odebrany.
§ 12
Radiotelefon stacjonarny typu 3201
1. Radiotelefon stacjonarny typu 3201
jest urządzeniem radiokomunikacyjnym przeznaczonym do utrzymania
dwustronnej łączności w simpleksowych sieciach
radiotelefonicznych w relacjach:
1) urządzenie stacjonarne -
urządzenie ruchome,
2) urządzenie ruchome - abonent i
telefoniczny (za pośrednictwem urządzenia stacjonarnego).
2. Urządzenie przystosowane jest do pracy ciągłej na jednym z 6-ciu lub 12-tu kanałów oraz do zdalnego sterowania przy pomocy wieloprzewodowej linii telefonicznej na odległość do 19 km.
3. Radiotelefon wyposażony jest w układy indywidualnego i grupowego wywołania selektywnego, które nie są wykorzystywane w sieciach radiotelefonicznych PKP.
4. Urządzenie zasilane jest z sieci prądu zmiennego o napięciu 220 V lub z baterii akumulatorów o napięciu 24 V, lub z obu tych źródeł jednocześnie, zapewniając ciągłość pracy przy zaniku napięcia w sieci prądu zmiennego.
5. W skład zestawu eksploatacyjnego
radiotelefonu wchodzą:
1) urządzenie transmisyjne z
anteną (w skład urządzenia transmisyjnego wchodzą: nadajnik,
odbiornik, sterownik wykonawczy oraz zasilacz) - niedostępne dla
użytkownika i nie-wymagające jego obsługi,
2) manipulator sterujący,
3) zasilacz manipulatora,
4) aparat telefoniczny
(przyłączany w przypadku potrzeby korzystania z połączeń w
relacji abonent ruchomy - abonent ogólnoeksploatacyjnej sieci
telefonicznej).
6. Manipulator sterujący umieszczony
jest w obudowie skrzynkowej. Przewidziany jest do umieszczania na
biurkach lub stołach dyspozytorskich. Na płycie czołowej (rys.
5) umieszczone są wszystkie elementy manipulacji i sygnalizacji
zdalnej oraz lokalnej.
Do zakresu manipulacji zdalnej zalicza się: włączenie i
wyłączenie urządzenia transmisyjnego, wybór rodzaju pracy
(nadawanie - odbiór), wybieranie kanału, wyłączenie blokady
szumu.
Na płycie górnej manipulatora sterującego umieszczone są
następujące elementy:
1) przycisk włączenia radiotelefonu N
1,
2) przycisk włączenia blokady szumu
- N 2,
3) przycisk przyłączenia aparatu
telefonicznego - N 3,
4) przycisk grupy kanałów 1-6 - N4,
5) przycisk grupy kanałów 7-12 - N5,
6) przełącznik kanałów - N 6.
7) przełącznik trzeciej cyfry
numeru indywidualnego selektywnego wywołania - N 7 - nie
wykorzystywany na PKP,
8) przełącznik czwartej cyfry
numeru indywidualnego selektywnego wywołania - N 8 - nie
wykorzystywany na PKP,
9) przełączniki grup
radiotelefonów przewoźnych - N9 - nie wykorzystywane na PKP,
10) przełącznik grupy
radiotelefonów noszonych - N 10,
11) przycisk nadawania numeru-
grupy selektywnego wywołania N11,
12) przycisk nadawania numeru
indywidualnego selektywnego wywołania N 12,
13) regulator siły głosu S 1,
14) lampka sygnalizująca
włączenie urządzenia transmisyjnego -L1,
15) lampka sygnalizująca
włączenie zasilania bateryjnego urządzenia transmisyjnego - L
2,
16) lampka sygnalizacji mocy
nadajnika - L 3,
17) głośnik - G.
Na lewej ściance manipulatora sterującego umieszczone jest
gniazdo podłączenia magnetofonu oraz wyprowadzone są przewody
połączeniowe mikrotelefonu, mikrofonu wolnostojącego,
zasilacza manipulatora i aparatu telefonicznego (niewidoczne na
rysunku).

7. Zasilacz manipulatora sterującego zasila
manipulator prądem zmiennym o napięciu 220 V lub prądem
stałym o napięciu 24 V (z baterii akumulatorów).
Na płycie czołowej obudowy (rys. 6) umieszczone są
następujące elementy sygnalizacyjne i manipulacyjne:
1) włącznik sieci -
"SIEC" N 1,
2) lampka sygnalizacyjna
włączenia manipulatora - "PRACA" L 1,
3) lampka sygnalizacyjna
włączenia zasilania bateryjnego manipulatora -
"BATERIA" L 2,
4) gniazda bezpiecznikowe - B 1 : B
4.
Ponadto z zasilacza wyprowadzone są przewody służące do
przyłączenia zasilania oraz zamontowane jest gniazdo
wielostykowe do połączenia z manipulatorem.

8. Włączenie radiotelefonu należy
przeprowadzać w następujący sposób:
1) w zasilaczu manipulatora
włączyć zasilanie z sieci przez ustawienie włącznika
"SIEĆ" w pozycji WŁ,
2) w manipulatorze sterującym
wcisnąć przycisk włączenia radiotelefonu N1.
Z chwilą zaniku napięcia w sieci prądu zmiennego manipulator
przechodzi na zasilanie awaryjne (z baterii akumulatorów) co
sygnalizowane jest zapaleniem się lampki L 2 w manipulatorze.
9. W celu nawiązania łączności z
żądanym abonentem sieci radiotelefonicznej należy;
1) wcisnąć odpowiedni przycisk
grupy kanałów N 4 lub N 5
2) wcisnąć właściwy przycisk
przełącznika kanałów N 6 (w sieciach radiotelefonicznych PKP
wykorzystywany jest przycisk N 4 oraz N 6 w zakresie 1-3),
3) ustawić regulator siły głosu
S 1 w pozycji środkowej,
4) zdjąć mikrotelefon z widełek,
przycisnąć przycisk nadawania (N 13 na uchwycie mikrotelefonu)
i wywołać żądanego abonenta głosem po czym zwolnić przycisk
nadawania i oczekiwać odpowiedzi, przy pracy z mikrofonem
zewnętrznym przycisk nadawania znajduje się w przełączniku
nożnym.
10. Manipulator sterujący umożliwia prowadzenie zapisu magnetycznego rozmów. Z chwilą przyłączenia magnetofonu do manipulatora rejestrowane są wszystkie rozmowy wychodzące i przychodzące.
§
13.
Radiotelefon przewoźny typu 3006
1. Radiotelefon przewoźny typu 3006 jest
dziesięciokanałowym, simpleksowym urządzeniem
radiokomunikacyjnym przeznaczonym do zapewnienia łączności w
sieciach radiotelefonicznych PKP.
Wyposażony jest w układ selektywnego wywołania grupowego oraz
układ umożliwiający automatyczne nadawanie sygnału
"ALARM", składającego się z odpowiedniej kombinacji
trzech tonów selektywnego wywołania.
2. Za pomocą radiotelefonu typu 3006
można realizować łączność na określone odległości w
następujących relacjach:
1) radiotelefon
przewoźny-stacjonarny do 15 km
2) radiotelefon
przewoźny-przewoźny do 5 km ,
3) radiotelefon przewoźny-noszony do 5
km
3. Zestaw eksploatacyjny radiotelefonu
tworzą:
1) zespół nadawczo-odbiorczy,
2) manipulator pociągowy (jeden
lub dwa),
3) zasilacz uniwersalny lub
zasilacz bateryjny,
4) tablica rozdzielcza (stosowana w
pojazdach trakcyjnych posiadających dwie kabiny sterownicze),
5) antena taborowa,
6) ramy mocujące zespół
nadawczo-odbiorczy, zasilacz uniwersalny i manipulator,
7) kable połączeniowe.
4. Zespół nadawczo-odbiorczy jest elementem wspólnym dla radiotelefonów typu 3006 oraz 3206 i został opisany w § 11 ust. 4.
5. Manipulator pociągowy został opisany w § 11 ust. 5-7.
6. Zasilacz uniwersalny zasila zestaw
radiotelefonu ze źródła prądu stałego o napięciu w
granicach 32-180 V.
Na płycie czołowej zasilacza (rys. 7) znajdują się
następujące elementy:
1) włącznik zasilania - WS,
2) lampka sygnalizacji napięcia
zasilania - LS,
3) lampka sygnalizacji napięcia
wyjściowego - LB,
4) dwa gniazda bezpiecznikowe - B1,
B2.

7. Zasilacz bateryjny zasila zestaw radiotelefonu prądem stałym o napięciu 24 V (z baterii akumulatorów) i nie wymaga obsługi ze strony użytkownika.
8. Tablica rozdzielcza instalowana jest w
jednej z kabin sterowniczych lokomotywy dwukabinowej. Na tablicy
rozdzielczej znajdują się następujące elementy (rys. 8):
1) włącznik zasilania "WŁ -
WYŁ" - S 1,
2) przełącznik manipulatorów
"KABINA A - B" - S 2,
3) gniazdo zasilania z baterii
pokładowej - G 1,
4) gniazdo manipulacyjne - G 2.

9. W celu włączenia radiotelefonu do
pracy należy:
1) sprawdzić, czy wszystkie kable
połączeniowe przyłączone są do gniazd,
2) na tablicy rozdzielczej ustawić
włącznik zasilania - S 1 w pozycji "WŁ",
3) na tablicy rozdzielczej
przełącznik manipulatorów - S 2 ustawić w pozycji
odpowiadającej kabinie, z której prowadzona będzie rozmowa,
4) w zasilaczu uniwersalnym
ustawić włącznik zasilania - WS ,w pozycji "WŁ", co
sygnalizowane jest świeceniem lampki LS,
5) w manipulatorze wcisnąć
przycisk włączenia radiotelefonu - NI, sygnalizowane
świeceniem lampki "WŁ" - L1,
6) wcisnąć przycisk blokady
szumów - N 2,
7) ustawić żądany kanał
przełącznikiem kanałów - S 1,
8) ustawić w pozycji środkowej
regulator siły głosu - S 2,
9) ustawić przełącznik nasłuchu
selektywnego - S 3 w pozycji:
a) 1 - w przypadku jazdy pojazdem z
nieparzystym numerem w służbowym rozkładzie jazdy,
b) 2 - w przypadku jazdy pojazdem z
parzystym numerem w służbowym rozkładzie jazdy.
10. W celu nawiązania łączności z żądanym abonentem sieci radiotelefonicznej należy postąpić zgodnie z § 11 ust. 10 i 11,
11. W przypadku konieczności wysłania sygnału "ALARM" należy postępować w/g postanowień § 11 ust. 12-14.
12. W sieciach, w których nie stosuje się selektywnego wywołania obowiązują postanowienia § 11 ust. 15.
§
14.
Radiotelefon automatyczny stacji ruchomej typu 30010-160
1. Radiotelefon automatyczny stacji ruchomej jest dziesięciokanałowym duosimpleksowym urządzeniem radiokomunikacyjnym przeznaczonym do zestawiania połączeń z abonentami ogólno-eksploatacyjnej sieci telefonicznej PKP i innymi abonentami ruchomymi zbiorowej radiotelefonicznej sieci liniowej PKP.
2. Za pomocą radiotelefonu 30010-160 można realizować łączność na odległość do 15 km od stacji bazowej.
3. W skład zestawu eksploatacyjnego
radiotelefonu wchodzą:
1) zespół nadawczo-odbiorczy,
2) zespół sterujący,
3) manipulator dyspozycyjny,
4) zasilacz,
5) antena,
6) rama mocująca.
4. Zespół nadawczo-odbiorczy oraz sprzęgnięty z nim elektrycznie i mechanicznie zespół sterujący wraz z zasilaczem umieszczone są w miejscu nieutrudniającym eksploatację stacji ruchomej (np. w bagażniku samochodu) i nie wymagają obsługi ze strony użytkownika.
5. Manipulator dyspozycyjny połączony
kablem manipulacyjnym z zespołem sterującym zawiera elementy
manipulacyjne uwidocznione na rys. 9:
1) włącznik zasilania stacji
ruchomej - WŁ,
2) klawiaturę wybierczą numeru
abonenta - klawisze 0-9,
3) klawisz wybierania kierunku
telefonicznego - T,
4) klawisz wyboru grupy kanałów
liniowych - L,
5) klawisz wyboru grupy kanałów
węzłowych - W,
6) klawisz zmiany kanału liniowego
- ZK,
7) wskaźnik cyfrowy
uwidaczniający numer aktualnie zajętego kanału radiowego - WK,
8) lampkę kontrolną obecności
fali nośnej - L1,
9) lampkę kontrolną
przychodzącego sygnału wołania - L 2.

6. Do manipulatora przyłączony jest przewodem mikrotelefon z przyciskiem "NADAWANIE - ODBIÓR" - NI.
7. Radiotelefon umożliwia nawiązywanie
łączności w następujących relacjach:
1) abonent ruchomy - abonent
ruchomy miejscowy (AR - AR),
2) abonent ruchomy - abonent
ruchomy poruszający się w obrębie innej centrali
radiotelefonicznej CR (AR - ARd),
3) abonent ruchomy - abonent
telefoniczny miejscowy (AR - AT),
4) abonent ruchomy - abonent
telefoniczny innej centrali telefonicznej (AR - ATd),
5) abonent ruchomy - grupa
abonentów ruchomych (AR - ARG),
6) abonent telefoniczny - grupa
abonentów ruchomych.
8. W celu nawiązania łączności w
relacji ARe - AR należy:
1) włączyć włącznikiem
zasilania WŁ zasilanie,
2) podnieść mikrotelefon - w
słuchawce pojawia się akustyczny sygnał zgłoszenia centrali
radiotelefonicznej Ł R,
3) wybrać klawiaturą
czterocyfrowy numer żądanego abonenta ruchomego, w słuchawce
pojawia się akustyczny sygnał wołania,
4) po zgłoszeniu się wybranego
abonenta zapala się lampka obecności fali nośnej - LI.
W przypadku zajętości abonenta, w słuchawce pojawia się
akustyczny sygnał zajętości.
W przypadku wyjazdu abonenta poza zasięg danej centrali
radiotelefonicznej (Ł R) lub wyłączenia przez niego
urządzenia, w słuchawce pojawia się akustyczny sygnał
nieosiągalności.
9. W celu nawiązania łączności w
relacji AR - AT należy:
1) wykonać czynności podane w
ust. 8 pkt 1 i 2,
2) przycisnąć klawisz wyboru
grupy kanałów liniowych (L) lub kanałów węzłowych (W) - w
zależności od aktualnej lokalizacji stacji ruchomej,
3) przycisnąć klawisz wybierania
kierunku telefonicznego - T
4) po uzyskaniu sygnału
zgłoszenia centrali telefonicznej wybrać numer żądanego
abonenta telefonicznego (AT) - w słuchawce pojawia się
akustyczny sygnał wołania (abonent wolny) lub sygnał
zajętości (abonent zajęty).
10. W celu nawiązania łączności w
relacji AR - ARd należy:
1) wykonać czynności podane w
ust. 9 pkt 1-3,
2) po uzyskaniu sygnału
zgłoszenia centrali telefonicznej wybrać numer kierunkowy
centrali telefonicznej, gdzie w zasięgu dołączonej do niej
centrali radiotelefonicznej (ŁR) znajduje się żądany abonent
ruchomy ARd,
3) po uzyskaniu sygnału
zgłoszenia wybranej centrali telefonicznej, wybrać numer
kierunkowy wejścia na sieć radiotelefoniczną,
4) po uzyskaniu sygnału centrali
radiotelefonicznej wybrać czterocyfrowy numer żądanego
abonenta radiotelefonicznego.
11. W celu nawiązania łączności w
relacji AR - ATd należy:
1) wykonać czynności podane w
ust. 10 pkt 1-2,
2) po uzyskaniu sygnału
zgłoszenia centrali telefonicznej wybrać numer żądanego
abonenta telefonicznego.
12. W celu nawiązania łączności
grupowej o charakterze dyspozytorskim należy:
1) wykonać czynności podane w ust. 8
pkt 1 i 2,
2) wybrać czterocyfrowy numer
grupowy, którego dwie pierwsze cyfry są zerami, na 16 sek.
włącza się akustyczny sygnał oczekiwania.
Rozmowa w w/w relacji ma charakter dyspozytorski tzn. abonent
wywołujący kieruje rozmową w taki sposób, aby nie nastąpiło
włączenie więcej niż jednego nadajnika z wywoływanej grupy
abonentów ruchomych.
Rozłączenie rozmowy grupowej jest możliwe tylko przez abonenta
wywoływanego. Odłożenie mikrotelefonu przez abonenta z
wywoływanej grupy powoduje wyłączenie się z rozmowy.
13. Przy wszystkich rozmowach przychodzących do abonenta ruchomego w słuchawce słychać akustyczny sygnał wołania oraz zapala się lampka przychodzącego sygnału wołania - L 2.
14. W czasie rozmowy przycisk nadawania Niw mikrotelefonie należy przycisnąć, w chwili zakończenia przekazywania informacji przycisk ten należy natychmiast zwolnić.
§ 15.
Radiotelefon noszony typu FM 315 i 3106
1. Radiotelefony noszone typu FM 315 i 3106 są trzykanałowymi urządzeniami radiokomunikacyjnymi przeznaczonymi do utrzymania dwustronnej łączności simpleksowej na odległość do 5 km.
2. Zestaw eksploatacyjny radiotelefonu
tworzą:
1) zespół nadawczo-odbiorczy
(wspólny dla obu typów),
2) mikrofonogłośnik (tylko dla
radiotelefonu typu FM 315),
3) manipulator (tylko dla
radiotelefonu typu 3106),
4) zasilacz (wspólny dla obu typów),
5) antena: prętowa, taśmowa lub
paskowa (wspólna dla obu typów),
6) futerał z pasem nośnym (wspólny
dla obu typów).
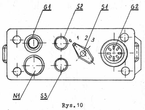
3. Zespół nadawczo-odbiorczy zawiera w
szczelnej obudowie układy elektroniczne nadajnika i odbiornika.
Na górnej płycie obudowy zespołu (rys. 10) umieszczone są
następujące elementy:
1) gniazdo antenowe służące do
przyłączenia anteny - G 1,
2) gniazdo do przyłączenia
manipulatora lub mikrofonogłośnika - G 2,
3) przełącznik kanałów wraz z
wyłącznikiem radiotelefonu - S1,
4) regulator siły głosu - S 2,
5) regulator blokady szumów - S 3,
6) przycisk kontrolny stanu
naładowania zasilacza lub wskaźnik diodowy stanu naładowania
zasilacza - N1.

4. Mikrofonogłośnik (rys. 13b) spełnia funkcję mikrofonu i głośnika. Zawiera przetwornik elektroakustyczny (MG) oraz przycisk nadawanie - odbiór - N 2.
5. Manipulator (rys. 11) zawiera
następujące elementy:
1) przetwornik elektroakustyczny
(mikrofonogłośnik) - MG,
2) przycisk nadawanie - odbiór - N 2,
3) trzy przyciski selektywnego
wywołania grupowego (oznaczone cyframi 1, 2, 3) - N 3.

6. Zasilacz o napięciu znamionowym 12,4 V zawiera 10 gazoszczelnych ogniw. Połączony jest z zespołem nadawczo-odbiorczym za pomocą zatrzasku. W normalnych warunkach pracy zasilacz zapewnia 15 godzin pracy urządzenia.
7. W celu włączenia radiotelefonu
noszonego (typu FM 315 lub 3106) do pracy należy:
1) połączyć zasilacz z zespołem
nadawczo-odbiorczym,
2) połączyć manipulator (lub
mikrofonogłośnik) z gniazdem G2,
3) połączyć antenę z gniazdem
antenowym - G 1,
4) przełącznik kanałów (S 1)
ustawić w pozycji 1, 2 lub 3 w zależności od żądanego
kanału,
5) ustawić w pozycji środkowej
regulator siły głosu - S 2,
6) ustawić na granicy szumów (tzn.
tak, aby lekkie skręcenie regulatora w lewo spowodowało
pojawienie się szumu w mikrofonogłośniku) regulator blokady
szumów - S 3.
8. W celu nawiązania łączności z żądanym abonentem sieci radiotelefonicznej z radiotelefonu typu FM315 należy przycisnąć przycisk N 2 umieszczony na obudowie mikrofonogłośnika i wywołać głosem żądanego abonenta a następnie zwolnić przycisk.
9. W celu nawiązania łączności z
żądanym abonentem sieci radiotelefonicznej z radiotelefonu typu
3106 należy:
1) przycisnąć na okres około 1 sek.
jeden z przycisków N 3 w zależności od grupy, w której
znajduje się dany abonent (§ 11 ust. 10),
2) po zwolnieniu przycisku natychmiast
przycisnąć przycisk N 2 i wywołać abonenta głosem, po czym
zwolnić przycisk N 2 i oczekiwać odpowiedzi,
3) ustawić odpowiednie wzmocnienie
regulatorem siły głosu S1
10. Po zakończeniu pracy radiotelefon wyłącza się przez ustawienie przełącznika kanałów S 1 w pozycji "0".
11. Zespoły nadawczo-odbiorcze radiotelefonów typu FM 315 i 3106 produkowane do 1979 r. posiadały optyczny wskaźnik stanu naładowania zasilacza umieszczony w przycisku N1. Wciśnięcie tego przycisku przy włączonym radiotelefonie powoduje świecenie umieszczonej wewnątrz przycisku lampki. Jeżeli po naciśnięciu przycisku lampka nie świeci, należy zasilacz odłączyć od zespołu nadawczo-odbiorczego i naładować za pośrednictwem specjalnego urządzenia do ładowania.
12. Zespoły nadawczo-odbiorcze produkowane po 1979 r. posiadają w miejscu przycisku N 1 wbudowany diodowy wskaźnik stanu naładowania zasilacza świecący przy włączeniu radiotelefonu na nadawanie (wciśnięty przycisk N 2 na manipulatorze lub mikrofonogłośniku). Jeżeli wskaźnik nie świeci, należy zasilacz odłączyć i naładować.
§ 16.
Radiotelefon noszony typu 3101
1. Radiotelefon noszony typu 3101 jest czterokanałowym urządzeniem radiokomunikacyjnym przeznaczonym do utrzymania dwustronnej łączności simpleksowej na odległość do 5 km.
2. Zestaw eksploatacyjny radiotelefonu
tworzą:
1) zespół nadawczo-odbiorczy,
2) manipulator lub mikrofonogłośnik,
3) zasilacz,
4) antena,
5) futerał z pasem nośnym.
3. Zespół nadawczo-odbiorczy. posiada
następujące elementy manipulacyjne umieszczone na górnej
płycie obudowy (rys. 12):
1) gniazdo antenowe do przyłączenia
anteny -G 1,
2) gniazdo do przyłączenia
manipulatora lub mikrofonogłośnika - G 2,
3) włącznik,radiotelefonu z
regulatorem siły głosu - S 2,
4) przełącznik kanałów - S 1.
5) diodowy wskaźnik stanu naładowania
zasilacza - L1

4. Manipulator (rys. 13a) zawiera
następujące elementy:
1) przetwornik elektroakustyczny - MG,
2) przycisk nadawanie - odbiór - NI,
3) trzy przyciski selektywnego
wywołania grupowego (oznaczone 1, 2, 3) - N2.
5. Mikrofonogłośnik (rys. 13b) zawiera przetwornik elektroakustyczny (MG) oraz przycisk nadawanie - odbiór - NI.

6. Zasilacz o napięciu znamionowym 12,4 V
zawiera 10 gazoszczelnych ogniw. Połączony jest z zespołem
nadawczo-odbiorczym za pomocą zatrzasku.
W normalnych warunkach pracy zasilacz zapewnia 8 godzin pracy
urządzenia.
7. W celu włączenia radiotelefonu do pracy
należy:
1) przyłączyć zasilacz do zespołu
nadawczo-odbiorczego,
2) przyłączyć antenę do gniazda G
1,
3) przyłączyć manipulator lub
mikrofonogłośnik do gniazda G2,
4) ustawić na żądany kanał (1-4)
przełącznik kanałów S 1,
5) włączyć radiotelefon i ustawię
żądaną siłę głosu przełącznikiem S 2.
8. W celu nawiązania łączności z
żądanym abonentem sieci radiotelefonicznej należy:
1) w manipulatorze nacisnąć jeden z
trzech przycisków selektywnego wywołania grupowego N 2 (w
zależności od grupy, w której znajduje się żądany abonent),
2) po zwolnieniu przycisku N 2
natychmiast przycisnąć przycisk N 1,
3) wywołać głosem żądanego
abonenta i zwolnić przycisk N2.
9. Po zakończonej pracy radiotelefon wyłącza się wyłącznikiem S2.
10. Podczas pracy nadajnika (przyciśnięty przycisk N 1) powinien świecić wskaźnik diodowy stanu naładowania zasilacza L 1. Jeżeli napięcie zasilacza obniży się poniżej dopuszczalnego napięcia zasilania urządzenia, wskaźnik przestaje świecić. W takim przypadku zasilacz należy odłączyć od zespołu nadawczo-odbiorczego i naładować aa pośrednictwem specjalnego urządzenia do ładowania.
§ 17.
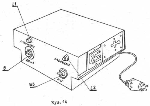
Urządzenie typu UŁ 0272 i UŁ 0274 do ładowania zasilaczy
1. Zasilacz radiotelefonu noszonego nie może być rozładowany poniżej dopuszczalnego napięcia, które określają wskaźniki stanu naładowania zasilacza umieszczone na zespołach nadawczo-odbiorczych.
2. Ładowanie zasilaczy do radiotelefonów noszonych należy do obowiązków użytkownika danego urządzenia.
3. Do ładowania zasilaczy przeznaczonych do urządzeń typu FM 315 i 3106 służy urządzenie ładujące typu UŁ 0272 przystosowane do ładowania jednocześnie dwóch zasilaczy.
4. Na płycie czołowej urządzenia typu
UŁ0272 (rys. 14) znajdują się następujące elementy:
1) włącznik napięcia zasilania z
sieci - WS,
2) gniazdo bezpiecznikowe - B,
3) lampki sygnalizacji ładowania
zasilaczy - LI, L 2.

5. Na bocznych ściankach urządzenia znajdują się gniazda przeznaczone do przyłączenia zasilaczy.
6. W celu naładowania zasilacza należy:
1) przyłączyć urządzenie
ładujące do gniazda zasilania z sieci energetycznej 220 V,
2) połączyć zasilacz z urządzeniem
ładującym,
3) włącznik zasilania z sieci WS
ustawić w pozycji "SIEĆ", ładowanie zasilacza
sygnalizowane jest świeceniem lampki L 1 lub L 2 oznaczonej
"ŁADOWANIE".,
7. Czas ładowania zasilacza wynosi 14 godzin. Przedłużanie tego czasu nie jest zalecane z uwagi na możliwość uszkodzenia ogniw.
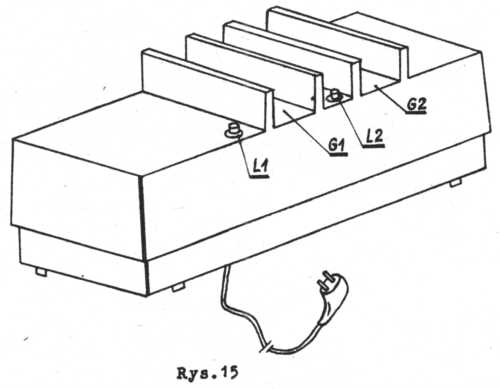
8. Do ładowania zasilaczy do radiotelefonów typu 3101 służy urządzenie ładujące typu UŁ 0274 przystosowane do jednoczesnego ładowania jednego lub dwóch zasilaczy.
9. Na górnej płycie urządzenia (rys. 15) znajdują się dwa gniazda umożliwiające przyłączenie zasilaczy oraz dwie lampki sygnalizacji ładowania. Urządzenie nie posiada wyłącznika sieciowego.

10. W celu naładowania zasilacza należy:
1) umieścić zasilacz w jednym z
gniazd urządzenia ładującego - G1, G2,
2) połączyć urządzenie ładujące
z gniazdem zasilania sieci energetycznej 220 V, ładowanie
zasilaczy sygnalizowane jest świeceniem lampki sygnalizacji
ładowania - L1 lub L2.
11. Czas ładowania zasilacza wynosi 14 godzin. Przekraczanie tego czasu nie jest zalecane z uwagi na możliwość uszkodzenia ogniw.
12. Zabrania się użytkownikowi pozostawiania zasilaczy przyłączonych do urządzeń ładujących po wyłączeniu ich z sieci energetycznej.
§ 18
Koncentrator radiotelefonów
1. Koncentrator radiotelefonów jest urządzeniem umożliwiającym zastąpienie do 10 szt. radiotelefonicznych manipulatorów pociągowych.
2. Koncentrator może współpracować z dwoma lub jednym zespołem nadawczo-odbiorczym.
3. Przy pracy z dwoma zespołami nadawczo-odbiorczymi jeden z nich jest urządzeniem rozmownym, zaś drugi - nasłuchowym.
4. Urządzenie wykonane jest w postaci stolika, którego górną płytę stanowi pulpit manipulacyjny.
5. Na pulpicie manipulacyjnym (rys. 16)
znajdują się następujące elementy, sygnalizacyjne i
manipulacyjne:
1) przyciski wybierania kanału w
zespole rozmownym (10 szt.) - N1,
2) lampki zielone "KANAŁ
ROZMOWNY" sygnalizujące wybrany kanał w zespole rozmownym
(10 szt.) - L1,
3) przycisk "KASOWANIE"
służący do wyłączenia wybranego kanału w zespole rozmownym
- N 2,
4) lampki żółte
"WEZWANIE" sygnalizujące kanał w zespole
nasłuchowym, na którym odebrane zostało wywołanie (10 szt.) -
L 2,
5) przyciski "ELIMINACJA
NASŁUCHU" służące do eliminacji dowolnego kanału z
procesu automatycznego przeszukiwania kanałów w zespole
nasłuchowym (10 szt.) - N3,
6) lampki czerwone sygnalizujące
kanał wyeliminowany z procesu automatycznego przeszukiwania
kanałów (10 szt.)- L3,
7) trzy przyciski selektywnego
wywołania grupowego -N4-N6,
8) regulator siły głosu zespołu
rozmownego - S 1,
9) włącznik blokady szumów w
zespole rozmownym - N 7,
10) lampka żółta "WŁ"
sygnalizująca włączenie zespołu rozmownego - L 4,
11) lampka czerwona "SFN"
sygnalizująca obecność fali nośnej (w zespole rozmownym - L
5,
12) regulator siły głosu zespołu
nasłuchowego - S 2,
13) lampka żółta "WŁ"
sygnalizująca włączenie zespołu nasłuchowego - L 6,
14) włącznik blokady szumów w
zespole nasłuchowym - N 8,
15) głośnik zespołu rozmownego
-Gł. 1,
16) głośnik zespołu nasłuchowego -
Gł 2,
17) przycisk automatycznego nadawania
sygnału "ALARM" - N9,
18) lampka czerwona sygnalizująca
odebranie sygnału "ALARM" przez zespół rozmowny - L
7,
19) lampka czerwona sygnalizująca
odebranie sygnału "ALARM" przez zespół nasłuchowy -
L 8,
20) przycisk wygaszania lampek L 7 i L
8 - N 10.

6. Na rys. 16 nie został umieszczony:
1) mikrofon z przyciskiem nadawania
połączony przewodem z urządzeniem,
2) włącznik zasilania koncentratora
umieszczony z lewej strony obudowy.
7. Napisy informacyjne "KANAŁ" i "KIERUNEK" oznaczające numer kanału w sieci pociągowej i linię kolejową oraz określające inne sieci radiotelefoniczne włączone do koncentratora wykonuje właściwa jednostka służby automatyki i telekomunikacji.
8. W celu włączenia koncentratora należy:
1) połączyć wtyk przewodu
zasilającego z gniazdem zasilającym sieci energetycznej o
napięciu 220 V prądu przemiennego,
2) włącznik zasilania ustawić w
położeniu "WŁ".
9. Po wykonaniu czynności wymienionych w ust. 8 na pulpicie manipulacyjnym powinna świecić światłem pulsującym jedna z lampek L 2 ("WEZWANIE"); w przypadku świecenia lampki światłem ciągłym urządzenie należy wyłączyć i ponownie włączyć.
10. Przy prawidłowo włączonym urządzeniu na pulpicie świecą światłem ciągłym lampki żółte L4 i L5 (włączenie zespołu rozmownego oraz nasłuchowego).
11. W celu nawiązania łączności z
żądanym abonentem sieci radiotelefonicznej należy:
1) przycisnąć odpowiedni przycisk
wybierania kanału N 1 odpowiadający żądanemu kanałowi w
zespole rozmownym,
2) przycisnąć na okres około 1 sek.
przycisk selektywnego wywoł.ania grupowego N 4, N 5 lub N 6 (w
zależności od grupy, w której pracuje żądany abonent),
3) przycisnąć przycisk nadawania w
mikrofonie i wywołać głosem żądanego abonenta.
12. Odbiór wywołania przebiega
następująco:
1) koncentrator odbiera wyłącznie
wywołania poprzedzone tonem selektywnego wywołania grupowego
przypisanym grupie abonentów stacjonarnych,
2) wywołanie sygnalizowane jest
świeceniem światłem pulsującym jednej z żółtych lampek
"WEZWANIE" - L 2 przypisanej do danego kanału,
3) w głośniku Gł 2 słychać
treść wywołania,
4) brak reakcji użytkownika na
wywołanie w ciągu 10 sek. powoduje zmianę świecenia lampki L
2 z pulsującego na ciągłe.
13. Reakcja na wywołanie polega na przyciśnięciu przycisku N 1 umieszczonego pod świecącą lampką, co powoduje wygaszenie jej.
14. Wzięcie do pracy kanału (zgłoszenie) sygnalizowane jest świeceniem światłem ciągłym lampki zielonej L 1 umieszczonej nad wciśniętym przyciskiem.
15. Po wzięciu kanału do pracy rozmowę przeprowadza się w sposób podany w ust. 11 pkt 3.
16. Po zakończeniu rozmowy należy wcisnąć przycisk N 2 "KASOWANIE".
17. Nadawanie sygnału "ALARM" polega na wykonaniu czynności podanej w ust. 10 pkt 1 oraz zgnieceniu plastikowej osłonki z napisem "ALARM" i wciśnięciu znajdującego się pod nią przycisku N 9.
18. Odebranie sygnału "ALARM" przez zespół nasłuchowy -sygnalizowane jest świeceniem czerwonej lampki L 8 i słyszane w głośniku Gł 2. Ponadto świecenie światłem pulsującym jednej z żółtych lampek L 2 określa kanał, na którym został odebrany sygnał "ALARM". '
19. Odebranie sygnału "ALARM" przez, zespół rozmowny sygnalizowane jest świeceniem czerwonej lampki L 7 i słyszane w głośniku Gł 1. Świecąca zielona lampka L 1 wskazuje kanał, na którym został odebrany sygnał "ALARM".
20. Wyłączenie obu lampek L7 i L8 dokonuje się przyciskiem N10.
21. Postępowanie w przypadkach odebrania sygnału "ALARM" przez dyżurnego ruchu podane jest w § 11 ust. 15.
22. W przypadku występowania zakłóceń w pracy sieci na danym kanale istnieje możliwość wyeliminowania tego kanału z procesu automatycznego przeszukiwania. W tym celu należy wcisnąć przycisk N 3 "ELIMINACJA NASŁUCHU" przypisany do danego kanału, wyeliminowanie kanału sygnalizowane jest świeceniem czerwonej lampki L 3 umieszczonej nad wciśniętym przyciskiem.
23. Wyeliminowanie kanału prowadzi do konieczności okresowego jego włączania w zespole rozmownym celem kontroli (ust. 10 pkt 1).
24. Ponowne włączenie kanału do automatycznego przeszukiwania realizowane jest przez wyłączenie uprzednio włączonego przycisku N 3, co powoduje wygaszenie lampki L 3.
25. Przy pracy koncentratora z jednym zespołem nadawczo-odbiorczym na pulpicie manipulacyjnym włączonego urządzenia świeci lampka L 4 sygnalizująca włączenie zespołu rozmownego.
26. Sygnalizacja wywołania oraz sposób reagowania na wywołanie i inicjowanie rozmowy jest identyczny dla obu wersji koncentratora.
27. Odbieranie informacji przez urządzenie z jednym zespołem nadawczo-odbiorczym przez czas dłuższy niż 20 sek. powoduje pulsowanie lampki L 1 wskazującej wybrany kanał, jest to sygnał, że po upływie dalszych 10 sek. kanał zostanie samoczynnie wyłączony (rozmowa zostanie przerwana). W celu przedłużenia czasu odbioru należy ponownie przycisnąć właściwy przycisk wybierania kanału N 1.
28. Przy pracy koncentratora z jednym zespołem nadawczo-odbiorczym podczas prowadzenia rozmowy nie ma możliwości odebrania wywołania na innym kanale - z tego względu czas rozmowy należy ograniczyć do niezbędnego minimum a po jej zakończeniu przycisnąć przycisk N 2 "KASOWANIE".