Załącznik
nr 9
ZŁĄCZA SZYNOWE IZOLOWANE KLEJONO-SPRĘŻONE
1. Złącza szynowe izolowane klejono-sprężone stosuje się w miejscach wymaganych przez system sterowania ruchem kolejowym, zgodnie z planami urządzeń srk. Stan toru w miejscu usytuowania złącza musi odpowiadać warunkom określonym w § 9 "Warunków technicznych"- D 1.
2.
Złącza szynowe izolowane klejono-sprężone wykonywane są z
szyn tego samego typu co szyny ułożone w torze lub rozjeździe,
w którym ma być wbudowane złącze. Złącza wykonuje się z
łubkami sześciootworowymi lub łubkami czterootworowymi.
Złącza wykonywane są jako wiszące, półpodparte lub
podparte.
W zależności od miejsca wykonania, złącza mogą być:
1) wykonywane bezpośrednio w torze,
2)wykonywane w bazie montażowej lub zakładzie produkcyjnym.
3. Złącza klejono-sprężone wykonane warsztatowo lub z ciętek, łączone są z szynami przyległego toru lub rozjazdu za pomocą spawania lub zgrzewania. Długość złącz wykonanych z ciętek szynowych powinna być zgodna z normą BN-77/8934-08. W zależności od przeznaczenia, dopuszcza się złącza z ciętek o innych długościach uzgodnionych z kierownikiem wykonawczej jednostki organizacyjnej.
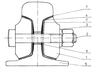
4. Elementy konstrukcyjne złącza klejono-sprężonego przedstawia rys. 1

Rys.1 Elementy złącza szynowego izolowanego klejono-sprężonego
Oznaczenia:
1- łubek sześciootworowy ,
2- śruba sprężająca,
3-pierścień płaski,
4- przekładka izolacyjna podłużna,
5- przekładka izolacyjna poprzeczna,
6- tulejka izolacyjna,
7- zaprawa,
5.
Warunki wykonania złącz:
1) materiał użyty do wykonania złącza powinien być
atestowany, a pracownicy zatrudnieni przy montażu złącz
izolowanych powinni posiadać świadectwa kwalifikacyjne
dopuszczające ich do wykonywania takich robót w czynnych torach
kolejowych,
2) złącze powinno stanowić zwartą konstrukcję bez uszkodzeń
mechanicznych, być czyste, bez resztek zaprawy wiążącej na
szynach (szczególnie na powierzchniach tocznych) i łubkach oraz
bez wystającej spod łubek tkaniny szklanej. Powierzchnie toczne
szyn, łącznie z powierzchnią izolacyjnej przekładki
poprzecznej, powinny być ułożone w jednej płaszczyźnie,
równe i gładkie. Przekładka izolacyjna powinna być mocno
ściśnięta między końcami szyn i nie wykazywać
rozwarstwień.
3) złącze powinno być montowane w temperaturze nie mniejszej
niż 50C przy braku opadów atmosferycznych (dopuszcza się
montaż pod osłoną ).
4) przy montażu złącz izolowanych należy:
a) w torze bezstykowym przed montażem należy dokonać regulacji
sił podłużnych,
b) w trakcie robót usuwać wszelkie zanieczyszczenia,
szczególnie opiłki powstające przy wierceniu, przecinaniu i
szlifowaniu,
c) powierzchnie komór łubkowych (powiększone o 5 cm z każdej
strony) oraz wewnętrzne powierzchnie łubków oczyścić z
zanieczyszczeń i rdzy (do metalicznego połysku), a przed
klejeniem zmyć środkiem odtłuszczającym,
d) przestrzegać wymogów technologicznych szczególnie w
zakresie przygotowania kleju oraz klejenia i formowania złącza,
5) czas montażu złącza nie powinien przekraczać 60 min,
6) każde złącze izolowane powinno posiadać na łubku
zewnętrznym trwałe oznaczenie zawierające:
a) nazwę wykonawcy,
b) typ złącza,
c) kolejny numer produkcyjny złącza,
d) miesiąc i rok produkcji,
7) każde złącze izolowane podlega komisyjnemu odbiorowi;
skład komisji odbioru określa kierownik wykonawczej jednostki
organizacyjnej. Odbiór złącz polega na:
a) sprawdzeniu atestów użytych materiałów,
b) sprawdzeniu oznaczeń określonych w pkt.6.
8) podstawą dopuszczenia złącza do eksploatacji jest
protokół odbioru złącz szynowych izolowanych
klejono-sprężonych.
6. Złącze izolowane klejono-sprężone dopuszczone do
eksploatacji powinno spełniać następujące warunki:
1) odchylenia od prostoliniowości w płaszczyźnie poziomej i
pionowej powierzchni tocznych szyn mierzone na bazie 1 m, nie
powinny być większe od:
a) 0,2 mm w torach głównych zasadniczych,
b) 0,3 mm w pozostałych torach.
2) śruby łubkowe powinny być dokręcone z siłą o wartości
momentu obrotowego nie mniejszym niż 880 Nm,
3) rezystancja elektryczna w stanie suchym powinna wynosić nie
mniej niż 50 MOhm a w stanie mokrym co najmniej 1 kOhm
4) wytrzymałość złącza szynowego na zrywanie powinna być
większa od:
a) 785 kN dla złączy S49,
b) 1177 kN dla złączy UIC60.
7.
W zależności od kształtu geometrycznego toru lub rozjazdu,
złącza wykonuje się jako:
1) złącze proste przeznaczone do toku prostego toru lub
rozjazdu,
2) złącze łukowe przeznaczone do toku łukowego toru lub
rozjazdu.
8. Przykłady złącz szynowych izolowanych klejono-sprężonych typu S przedstawiają rysunki 2 - 4:

Rys.
2 Złącze szynowe izolowane klejono-sprężone z łubkami
sześciootworowymi
Rysunek górny: szyny S49, rysunek dolny szyny UIC60

Rys. 3
Złącze szynowe izolowane klejono-sprężone z łubkami
czterootworowymi
Rysunek górny: szyny S49, rysunek dolny szyny UIC60

Rys. 4 Złącze szynowe izolowane klejono-sprężone z łubkami czterootworowymi z szyn S49.